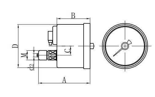
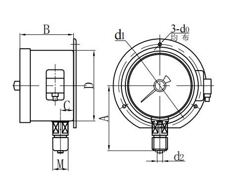
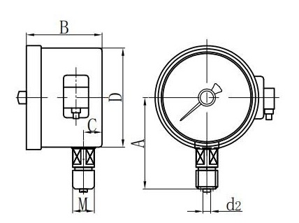
◆ مدل: YXD100 YXD150
◆ موارد استفاده: این نوع ابزار جایگزینی برای سنج فشار تماس الکتریکی است ، مزایای استفاده از فشار فشار الکتریکی را حفظ می کند. دقت ، ویژگی های عالی سوئیچینگ. این ماده به طور گسترده در نفت ، صنعت شیمیایی ، متالورژی ، فناوری انرژی هسته ای و فرآیند سوئیچینگ مکرر مورد استفاده قرار می گیرد.
این ابزار برای اندازه گیری پایدار و قابل اعتماد و کنترل فشار مایعات ، گازها یا بخارات بدون خطر انفجار ، عدم تبلور ، عدم جامد سازی و تأثیر غیر مصرفی بر آلیاژهای مس و مس مناسب است.
◆ اگر لازم است یک فشار فشار از نوع ضد شوک ایجاد شود ، می توان آن را با روغن گلیسیرین یا سیلیکون پر کرد. $ $





















